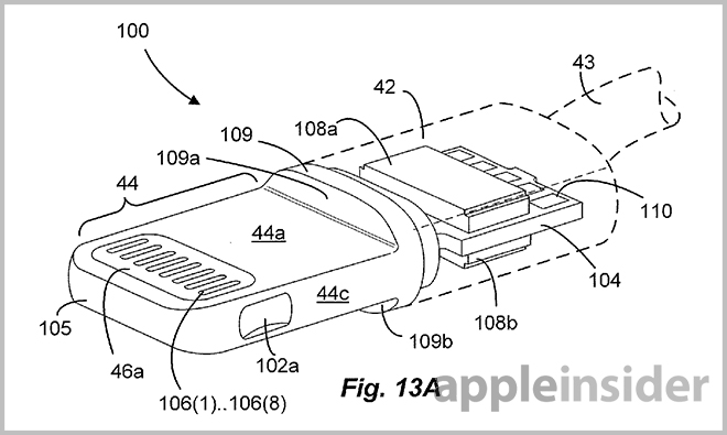
Je to až překvapující, ale Apple podal teprve včera přihlášku na patentový úřad (US Patent and Trademark Office) s patentem Lightning konektoru. Z obrázků je patrno, že nejde o jednoduchý konektor.
Zdroj: appleinsider
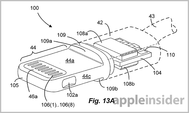
Je to až překvapující, ale Apple podal teprve včera přihlášku na patentový úřad (US Patent and Trademark Office) s patentem Lightning konektoru. Z obrázků je patrno, že nejde o jednoduchý konektor.
Zdroj: appleinsider