Apple požádal o udělení patentu na technologii, která změní nastavení zabezpečení u iOS zařízení na základě toho, kde se v daný moment nachází. Tzn., že zatímco budete doma bude stačit pouze přiložit palec na Touch ID, ale když budete někde na dovolené, bude nutné již zadat celé heslo nebo rozšířené heslo.
Zařízení navíc dokáže na základě polohy změnit i další nastavení. Např. pokud doma běžně používáte Bluetooth reproduktory, zapne se Bluetooth po příchodu domů automaticky, aby bylo usnadněno spárování, jakmile však domov opustíte, Bluetooth se automaticky vypne a tak bude šetřit vaši baterii. Další možností využití je třeba zablokování plateb nebo nákupů když odejdete z domova a další. Vše si samozřejmě budete moci nastavit a tak bude záležet jen na vás, zda tuto funkci využijete nebo nikoliv.
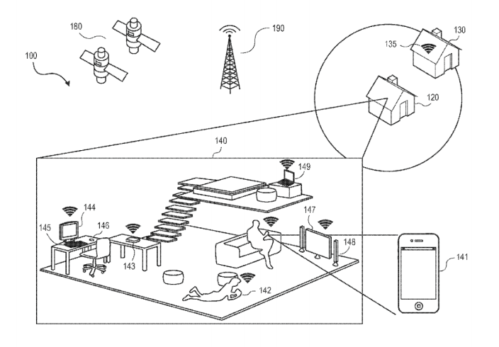
Zajímavé je, že zařízení by nepoužívalo pouze polohu GPS a někdy by ji ani nepotřebovalo. Vše by totiž probíhalo na základě několika aspektů, které iOS zařízení během prvotního nastavení zohlední. Zkontroluje např. Wi-Fi síť ke které je zařízení připojeno (jestliže zařízení detekuje domácí Wi-Fi síť, tak automaticky změní své nastavení) nebo polohu určenou pomocí nejbližšího GSM vysílače. Zatím se však jedná pouze o patent, který může, ale také nemusí být využít.















