Patenty
Společnost Apple si již dlouhá léta pohrává s myšlenkou, že by MacBook měl slot pro SIM kartu a k dispozici by tak měl LTE připojení. Tento koncept se objevil už v roce 2007. Avšak nejnovější patent ukazuje, jak by...
Na internetu se objevily dva identické dokumenty, které ukazují možnou digitální korunku na iPhonu a iPadu. Dokumenty pochází přímo z oficiálního hlášení společnosti Apple pro patentový úřad v USA.
Ve čtvrtek Apple podal americkému patentovému úřadu dva identické patenty, ukazující...
V Číně a Indii je velmi populární mít dvě telefonní čísla, proto odlišení pracovních a soukromých hovorů. Společnost Apple tuto možnost nenabízí, proto je její růst v určitých zemích omezen. Ale vypadá to, že Apple přijde s dual SIM...
Dnes zveřejněná patentová přihláška Applu ukazuje, že haptická odezva by mohla být zabudována v řemínku hodinek. Mnoho elektronických zařízení se v současné době zmenšuje a Apple nechce zaostávat. Přenesením haptiky na řemínky by se ušetřilo místo na samotném tělu...
Apple si nechal registrovat další patenty, které se týkají Apple Pencil. Tyto patenty napovídají tomu, že by mohla Apple Pencil spolupracovat s jablečným telefonem. Dále se také zřejmě rozšíří počet aplikací v iOS, které podporují tuto elektronickou tužku, konkrétně...
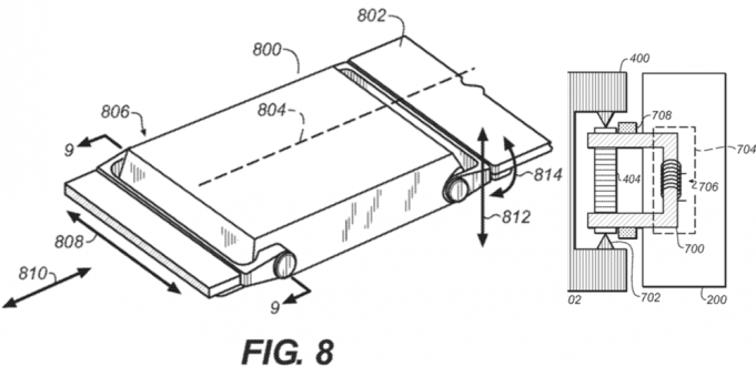
Společnosti Apple byl udělen patent, který se týká především ohebného OLED displeje, ale kromě toho i ohebných komponentů. Z posledních uniklých dokumentů amerického patentového úřadu je patrné, že společnost chtěla již před lety mít skládací iPhone, dnes již známé...
Společnosti Apple byl schválen patent, který umožňuje Siri, aby pomohla při plánování schůzek v iMessage. Na jednom obrázku z patentu je ukázáno, jak Siri zareaguje na větu: "Jak dlouho vám bude trvat cesta sem, lidi?"
Siri vyhodnotí odpověď na tuto otázku...
Společnost Apple dnes získala patent pro sportovní verzi sluchátek EarPods, který má svůj původ už v roce 2008. Zdá se, že je to jen další logický krok společnosti k rozvíjení oblasti zdraví a kondice. Vypadá to, že se v...
Objavú sa rôzne koncepty iPhonu 8 ale medzi konceptom a reálnym produktom je väčšinou veľký rozdiel. Nový smartphone od Xiaomi ukazuje čo je možné v smartphonoch. Xiaomi Mi Mix má rôzne technológie, ktoré sú podobné patentom od Apple.
Xiaomi Mi...
Už delší dobu je známo, že Tim Cook se raději vydá cestou rozšířené reality než virtualní reality, a to z prostého důvodu. Virtuální realita klade mezi reálný svět a lidskou bytost počítač. Společnost Apple dnes získala patent pro využití...
Podle magazíu TechCrunch získala společnost Apple talenty a technologie z bankrotující firmy Omnifone. Není to obvyklá koupě zanikající společnosti jak to Apple občas dělá, že skupuje malé společnosti, ale pouze si vybral 16 pracovníků a některé technologie, které se...
Společnost Apple získala patent, který se týká technologie rozeznávání obličeje. Název patentu je Odemykání a zamykání mobilního zařízení pomocí rozeznávaní obličeje. To však nevylučuje, že by Apple tuto technologii nemohl využít i u Macu.
Podle patentu, zařízení rozezná vaši tvář...
Nedávno byl společnosti Apple udělen patent, který popisuje metodu pro stanovení polohy iPhonu, který je vypnutý. To vás ochrání před zloději, kteří by váš iPhone okamžitě vypnuli. Aplikace Find My iPhone nyní ukazuje všechny polohy vašeho iPhonu, ale musíte...
Dnes byla zveřejněna patentová přihláška společnosti Apple, ve které popisuje způsob oddělení mechanického pocitu při stisku kláves od elektrického, který by byl korigován pomocí senzorů, což umožňuje větší přizpůsobení zpětné vazby kláves.
V patentu se píše, že různí lidé mají...
Společnost EPGL, která je dodavatelem zdravotnických prostředků, pracuje na vývoji inteligentních kontaktích čoček. Tato společnost má v umýslu přijít s aplikacemi pro iOS, které by byly zaměřeny na rozšířenou realitu.
Prezident společnosti EPGL uvedl, že spolupracuje s jablečnou firmou na...
Společnost Apple podala patentovou žádost, která se týká bezdrátového nabíjení iPadu a iPhonu prostřednictvím iMacu. Patent má název: "Využití bezdrátového nabíjení v blízkosti počítače."
Zdroj pro bezdrátové nabíjení, v našem případě iMac, by vytvářel magnetické pole, které by bylo schopno nabíjet...
V současné době můžete zabezpečit své Apple Watch kódem nebo je můžete nastavit tak, že se automaticky odemknot při odemykání iPhonu. Ale podle nové patentové přihlášky, kterou podala společnost Apple, hodinky rozeznají svého majitele pomocí nové technologie, která využije...
Dnes byl společnosti Apple udělen patent, který se týká světelného senzoru, který bude zabudován přímo v displeji. To je velmi důležitý krok, který opět potvrzuje to, že Apple pracuje na displeji, který bude přes celou přední stranu iPhonu.
Patent je...
Je tomu teprve měsíc, co společnost Apple představila své nové vlajkové lodě- iPhone 7 a 7 Plus a již se na internetu objevují koncepty a spekulace ohledně nového iPhonu 8, který by měl být nadcházejícím modelem pro příští rok.
Několik...
Velmi se spekuluje o tom, že Apple zabuduje Home button přímo do displeje. Společnost Apple však dnes získala patent, který se týká technologie, která bude umět rozpoznat otisk prstu kdekoliv na displeji. Proto se propojení Home button a displeje...
Společnost Apple určitě znáte díky iPhonům, iPadům či MacBookům, ale Apple chce nyní prorazit i na poli nákupních tašek. V březnu podala společnost patent na papírovou tašku, která vypadá docela obyčejně.
V patentové žádosti je taška nazvána jako "maloobchodní papírová taška",...
Apple bude muset zaplatit patentové firmě Acacia Research pokutu ve výši 22.1 milionů $, porota ve východním Texasu o tom rozhodla tento týden. Problém je v tom, že Apple úmyslně porušil patent týkající se mobilních sítí.
Toto však není první...
Jen pár dní zbývá do představení iPhonu 7 a společnosti Apple patentový úřad U.S. Patent & Trademark Office udělil registrovanou ochrannou známku na funkci "Peek and Pop". Jedná se o součást multi-touch funkce, která byla představena společně s iPhonem...
Společnosti Apple byl v polovině srpna udělen patent, který popisuje způsob lokalizace polohy zařízení, takzvané mapování, pomocí počítačového vidění a inerciálních měřících senzorů.
Patent, zveřejněný americkým úřadem pro patenty a ochranné známky označený jako vizuálně založená inerciální navigace, umožňuje, aby...










































