Patenty
                Patentová přihláška Applu podaná tento čtvrtek popisuje několik metod zachycení a následné uložení biometrických údajů člověka, který odcizí iPhone. Nechybí tak získání otisků prstů, fotografií a mnoho dalších forenzních údajů.
Celý trik je přitom prostý - pokud se několikrát nepovede zloději...            
        
                Apple má na svém účtu stovky patentů, z nichž většina ani nespatří světlo světa. Nyní se objevil další, který by se ovšem mohl stát realitou a to podle nabídky doplňků, kterou v tuto chvíli na svých stránkách Apple nabízí.
Jde...            
        
                Zařízení na měření EKG by mělo mít podobu hodinek, prstenu, nebo brože. Mělo by být umístěno na končetinu lidského těla, jako je zápěstí, nebo kotník a to buď na levé, nebo pravé straně.
Důvod, proč patentová přihláška klade důraz na...            
        
                Nedávný patent společnosti Samsung, který obsahuje mechanismus na výměnu řemínků u chytrých hodinek, zahrnuje obrázky podobné Apple Watch. Vypadá to, že Samsung si některé obrázky prostě "vypůjčil" od Applu a nebo je přímo zkopíroval.
Na patent chytrého zařízení od Samsungu, který obsahuje...            
        
                Dle dostupných informací to vypadá že Apple přemýšlí o použití digitální korunky kterou známe z Apple Watch, pro iPhone a iPad. O použití korunky se spekuluje od příchodu Apple Watch a dle dostupných patentů to vypadá že to Apple...            
        
                Apple každoročně představuje nové iPhony v září, už ale několik měsíců nás zaplavují mraky úniků a informací, jak budou novinky vypadat. Spekuluje se i tom, že iPhone 7 nebude mít 3,5mm jack a že bude připojení sluchátek vyřešeno jinak. Jak, to...            
        
                Na internetu se objevila petice, která má za úkol upozornit společnost Apple, aby do svého nadcházejícího mobilního systému, neimplementovala patent, který slouží k dálkové blokaci fotoaparátu. Této funkce by se dalo efektivně využití například při koncertech nebo u jiných...            
        
                V tomto týdnu se objevil na webu zajímavý nový patent od společnosti Apple, který se týká využití bezdrátového datového přenosu v MacBoocích. Jedná se o LTE konektivitu. Notebooků, které mají vestavěnou datovou konektivitu je na trhu velice málo a...            
        
                Apple prohrál soudní spor se společností Network 1 Technlogies ohledně patentu Cover Flow. Funkci Cover Flow Apple používal v aplikacích jako iTunes nebo Music na mobilním operačním systému iOS. Nyní je funkce Cover Flow dostupná v aplikaci Finder, kde usnadňuje...            
        
                Kdy už konečně vydá Apple novou generaci svých velice populárních hodinek? Zvěsti o nových Apple Watch sledujeme již celé měsíce, ale zatím jsme se nedozvěděli nic konkrétního, čím by měli být nové hodinky výjimečné. Apple ovšem nedávno zveřejnil patenty,...            
        
                Mobilní operační systém iOS není třeba představovat. Jedná se o nejoblíbenější mobilní systém všech dob. Jednu dobu se vášnivě spekulovalo, zda Apple spojí systémy OS X a iOS dohromady a vytvoří tak jeden operační systém. Tento šílený koncept je...            
        
                Patentoví trollové nejsou v dnešní době ničím novým a mnoho společností se stalo obětí. Konkrétně menší společnosti, které si nemohou dovolit právní obranu často vyhodí hromadu peněz jen kvůli tomu, aby se situace nemusela řešit soudně. Ve většině případů ovšem...            
        
                Dnes zveřejněný patent naznačuje, že by mohl mít Apple plány s Apple Pencil, které by umožňovali používat tento "stylus" na trackpadu pro Mac, stejně jako na obou verzích iPadu Pro.
Patent byl podán již v roce 2014, kdy Apple nazval...            
        
                Nový patentový návrh Applu, který se tentokrát zaměřuje na hlasovou asistentku Siri v Apple TV, by přinesl další velmi povedené funkce. Siri by tak mohla ještě více pomoci uživatelům v komunikaci s televizí. Siri by také měla rozpoznat příkaz od...            
        
                Apple dnes získal patent na výrobu nových Smart Coverů pro iPad. Původní patent, podaný již v roce 2012, USPTO, obsahuje pro uživatele iPadu nové doplňkové funkce, včetně extra dotykového displeje. To umožňuje lépe pracovat s přídavným stylusem.
Mít druhou obrazovku iPadu by mohlo...            
        
                V současné době nabízí iPhone nejvíce 12 Mpx kvalitní fotoaparát. To je dost a lze tak pomocí telefonu udělat velmi pěkné fotografie - jakmile ale chcete něco přiblížit, kvalita je tragická. To by ovšem měl vyřešit jeden z dalších...            
        
                Kalifornská společnost musela opět sáhnout do kasičky, aby se dohodla s majitelem patentu u Siri. Vše se tedy nakonec vyřešilo mimosoudně, přesto ale Apple přišel v přepočtu o 600 milionů korun. Soud však mohl vyhrát.
Pro Apple ovšem 600 milionů...            
        
                Hong Kong Patent and Trademark Office schválil Applu tři jeho další designové patenty týkající se maloobchodního balení Apple Watch Sport. Patent na obrázku nese označení 1502174.6M001. Zbylé dva zobrazeny nebyly, ovšem vizuálně by měly být stejné.
  Zdroj: patentlyapple.com            
        
                Force Touch je již v MacBooku, Magic Trackpadu a samozřejmě také v iPhonu 6s, není tedy žádné překvapení, že ho Apple chce dát i do Magic Mouse.
Poslední update Magic Mouse byl v minulém roce a to v říjnu, kde...            
        
                Apple bezpečnost svých zařízení bere opravdu vážně - tím ovšem tentokrát nemyslíme ochranu údajů, ale spíše ochranu dětí. Společnost má totiž další patent, jen ukazuje kontrolu nad sprostými slovy, takže by mohla být nahrazena slovem jiným či obyčejným pípnutím.
Apple...            
        
                Nekonečný patentový spor mezi firmami Apple a Samsung nabral tento týden zajímavý obrat. Apple tvrdí, že posledním rozhodnutím soudu byly porušena ústava Spojených státu amerických.V roce 2014 Apple požadoval po Samsungu cca 3 miliardy korun za porušení tři z pěti...            
        
                Majitelé jablečných hodinek už vědí, že stačí trochu pozvednout zápěstí a samotné Apple Watch tak rozsvítí a dále s nimi pracovat. To by ale mohl změnit patent Applu, který ukazuje několik nových gest, které by sloužily k ovládání. Apple samozřejmě...            
        
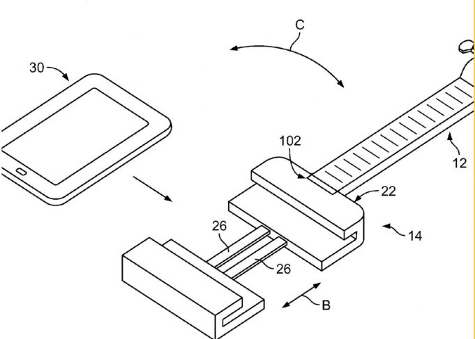
                Apple pravděpodobně na novém chytrém řemínku, který by mohl přinést hned několik podstatných změn, ale i i možnost, že i když nebudete upradovat samotné hodinky, stále budete mít plnohodnotný model.
Naznačuje to totiž patent, který by mohl využít speciální konektor,...            
        
                Apple získal patent, který značí, že bychom se v budoucnu mohli dočkat zcela nového Lightning konektoru. Jedná se totiž o speciální kabel, na který se může připojit ještě několik dalších zařízení najednou. Podle obrázku by mohl fungovat i jako...            
        












		
	




























