Patenty
Apple Watch jsou na plavání skvělé. Sám je 3 krát týdně na plavání používám. Dokáží vám během plavání změřit tep, počet bazénů, uplavanou vzdálenost a čas. Na to vše se můžete podívat kdykoliv během plavání. Funkce by ale v...
Několik posledních generací iPhonů sice je voděodolných, nicméně pokud jej při nabíjení hodíte do vody, stále můžete mít problém. Nabíjecí konektor totiž voděodolný není a tak může jednoduše způsobit zkrat. Patent, který se tento týden dostal na světlo světa...
Apple v roce 2016 podal patent obsahující klávesnici, která by měla být více odolná vůči drobkům a ostatním nečistotám. Tento patent se dostal na světlo světa až dnes a to díky magazínu The Verge.
Patent ve svém základě popisuje, jak...
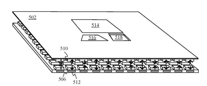
Apple získal nový patent č. 9 904 502, který popisuje zařízení s druhým displejem pro MacBook nebo iPad jako dynamickou klávesnici.
Patentová přihláška obsahovala popis dvou možností, první je trvalé připevnění k zařízení a druhou je duální displej, který lze odendat podobně...
Apple aktualizoval svojí ochrannou známku na pokrytí herní konzole, zřejmě se tedy jedná o novou generaci Apple TV, popř. významnou softwarovou aktualizaci. Jedná se o ochrannou známku v rámci "Mezinárodní třídy 028", která se týká výhradně videoher.
Zařízení pro elektronické...
Společnost Qualcomm urovnala své spory s firmou Samsung, týkající se licenčních podmínek a uvádí, že doufá, že totéž učiní i Apple. Qualcomm dostala pokutu více než 850 milionů dolarů před rokem poté, co bylo zjištěno že její obchodní praktiky týkající...
Tři inženýři společnosti Apple požádali o patent, který naznačuje, že firma přinejmenším uvažuje o práci na nové Apple Pencil, která může být použita mimo iPad, na jakémkoli plochém povrchu nebo ve vzduchu.
Patentová přihláška č. 62/363172 je nazvána "Vytváření obsahu...
Apple získal patent s číslem 20180024683, který detekuje vstupní strukturu dotyku, tedy funkce Force Touch (měření síly dotyku) v digitální korunce Apple Watch. Mechanická korunka by v budoucnu měla měřit nejen stisk, podržení nebo otáčení korunkou, ale také sílu, stejně...
Společnost Immersion, která vyvíjí a licencuje technologie haptické zpětné odezvy, dnes oznámila, že dosáhla dohody o urovnání a licencování se společností Apple. Podmínky smlouvy jsou důvěrné.
Immersion se popisuje jako přední inovátor systémů haptické zpětné odezvy, s více než 2 600 vydanými...
Společnost Qualcomm obdržela pokutu ve výši 997 milionů EUR za to, že zaplatila společnosti Apple za používání svých čipů LTE v zařízeních iOS, informovala o tom agentura Reuters ve středu.
Podle šetření Evropské komise měly být tyto platby uskutečněny od...
Zatímco bezdrátové nabíjení založené na kontaktech může být užitečné, pravou vychytávkou je nabíjení na dlouhou vzdálenost - to umožňuje automatické nabití všech výrobků, ať už je máte položeny kdekoli v místnosti.
Zatím tuto možnost nemáme. Energous ale pracuje na této...
Patentová přihláška zveřejněná ve čtvrtek odhalila podrobnosti o autonomním výzkumu vozidel Apple, který generální ředitel Tim Cook nazval "matkou všech projektů AI". Patentová přihláška nazvaná jednoduše "Autonomní navigační systém" byla ve čtvrtek zveřejněna Úřadem pro patenty a ochranné známky...
Apple zkoumá nové způsoby, jak zajistit, aby se systémy automatického řízení chovaly více jako lidé, na základě nedávného patentového podání. USPTO konečně zveřejnila první patentovou přihlášku Apple týkající se automatického řízení.
To dá určitý přehled o strategiích, které by mohla...
Apple pracuje na vylepšení Siri a jeho základních schopnostech. Apple původně podal návrh na patent v roce 2016, ale teprve dnes byl přijat. V podstatě tento patent umožňuje to, že Siri dokáže rozpoznat, když uživatel šeptá a následně pošeptá zpět...
Značný počet fanoušků Apple Pencil netrpělivě čeká na podporu iPhone od té doby, co se Tim Cook vyjádřil, že by to mohlo být již brzy. Objevilo se několik patentových přihlášek společnosti Apple pro tuto myšlenku a tento týden byla vydána...
Společnost Qualcomm oznámila, že podala tři nároky na patent proti společnosti Apple a obvinila firmu Cupertino, že porušila celkem 16 patentů Qualcomm v nejnovějších telefonech iPhone, včetně iPhone X.
Většina těchto patentů se týká technologií, jako je agregace, paměť a...
Applu byl nově uznán patent, pro ovládání počítače Mac pomocí gesty rukou a obličeje. To může naznačovat i použití Face ID na budoucí Macy. Patent popisuje ovládání počítače pomocí gest rukou např. pohybem nahoru, zamávání, nebo přiblížení.
Face ID můžeme...
Nejvyšší soud Spojených států odmítl odvolání od společnosti Samsung, které se týkalo přechodu k odemknutí, předpovídání textů a dalších patentových práv společnosti Apple. Společnost Samsung věřila, že soudce pro patentové řízení porušil postup.
Podle ní nepřezkoumal ústní argumenty, neslyšel další důkazy,...
Technologie 3D Touch společnosti Apple používá vrstvu 96 tlakových senzorů, které detekují stisknutí displeje a simulují pocit kliknutí vibracemi vestavěného zařízení Taptic Engine.
Nová patentová aplikace společnosti Apple odhalila, že firma zkoumala budoucí implementaci 3D Touch s integrovanou haptickou zpětnou...
Společnost Corephotonics, izraelský výrobce technologií pro dva typy objektivů pro chytré telefony, podala žalobu proti firmě Apple tento týden, když tvrdí, že iPhone 7 Plus a iPhone 8 Plus porušují čtyři patenty.
Patenty, které byly podány u amerického úřadu pro...
Apple a Samsung mají už 6 let trvající spor za kopírování designu z iPhonu, který bude opět řešen v soudní síni. Soudce Lucy Kohová bude znovu u okresního soudu v Lucemburku, řešit soudní proces, zda musí Samsung uhradit Applu 399...
Každý, kdo někdy absolvoval měření krevního tlaku jistě ví, že se provádí pomocí nafukovací manžety. To se však může brzy změnit díky jablečné společnosti z Kalifornie. Ta si nechala patentovat inteligentní metodu pro měření krevního tlaku pomocí Apple Watch.
Metoda...
Ztratili jste, nebo vám byl odcizen váš iPhone? Vidíte zařízení na v "Najít iPhone" na iCloud.com, ale stejně je to pouze otázka času, kdy tento telefon zloděj vypne, nebo se bude pokoušet obejít zabezpečení a přehrát systém. Apple má...
Floridská společnost CustomPlay podala stížnost na Apple, jelikož se domnívá, že funkce Siri v Apple TV čtvrté generace je "okopírovaná" z jejich patentovaného programu. Případ bude předán soudci. Uživatel Apple TV může použít povel "What did he say?" a...









































